Mazda RX 跑车要复活了!Mazda 注册全新 R 跑车专利,新一代 RX-9 或开发中,马力有望达450Hp!

续上周 Mazda 注册了 R 商标后(点击这里观看全文),日前 Mazda 又在日本当地注册了一组 R 跑车专利,看来这次 Mazda RX 跑车是真的要复活了!而根据之前外媒掌握的“可靠消息”,新一代 RX-9 不会采用转子引擎,而是改用直列六缸涡轮引擎,马力450Hp!

在上周,Mazda 才刚注册了 R 商标,同时还拥有专属 R 徽章设计,如果你是 Mazda 的粉丝,那你肯定能够发现这个全新的 R 徽章设计与当年风靡一时的 RX-7 Spirit R 徽章非常相似!

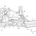
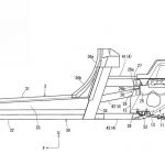
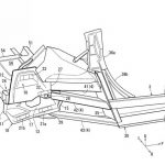
而在昨天,Mazda 又再次于日本当地注册了一组全新 R 跑车专利,从日本媒体透露的专利图来看,Mazda 这款全新 R 跑车的模型和 Mazda RX-Vision 概念跑车神似,采用了 FR 前置引擎后驱系统的设定,外形预计会是长车头短车尾,就和经典 JDM 跑车 Mazda RX-7 一样!

至于引擎配置上,其实 Mazda 这几年据悉都没有放弃它们超强的转子引擎(Rotary Engine),一直不断在研发与加强,只不过因为转子引擎本身的设计结构与特性导致它很难通过现今汽车市场严苛的排放法规,所以这也是为什么到现在都没有全新的转子跑车登场。

那在不久前国外媒体就得到了“可靠消息”,表示 Mazda 正开发着新一代的 RX-9,它将放弃转子引擎,采用全新的直列六缸 Turbo 引擎,预计马力可达450Hp!那这消息就很合理了,因为 Mazda 官方在去年(2020)已经宣布他们正在开发全新的 3.0L 直列六缸引擎,再加上 Mazda 也注册了全新 R 商标 + R 跑车专利,所以预计新一代的 RX 跑车是真的要来了!

无论如何,虽然我们不确定 Mazda 注册 R 商标与 R 跑车专利的目的是什么?但既然都有了商标与专利,同时还有 RX-Vision 概念车作为原型,相信 Mazda 接下来应该会大展身手吧?你们觉得呢?
部分资料与照片翻摄自:Hatena Blog / Carscoops / jalopnik.com
Mazda 申请的商标与专利图
Mazda RX-Vision & GT3 概念跑车




























